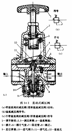
直动式减压阀

图14—1a所示为直动式带溢流阀的减压阀(简称溢流减压阀)的结构图。
压力为P1的压缩空气,由左端输入经阀口10节流后,压力降为P2输出。P2的大小可由调压弹簧2、3进行调节。顺时针旋转旋钮1,压缩弹簧2、3及膜片5使阀芯8下移,增大阀口10的开度使P2增大。若反时针旋转旋钮1,阀口10的开度减小,P2随之减小。
若P1瞬时升高,P2将随之升高,使膜片气室6内压力升高,在膜片5上产生的推力相应增大,此推力破坏了原来力的平衡,使膜片5向上移动,有少部分气流经溢流孔12、排气孔11排出。在膜片上移的同时,因复位弹簧9的作用,使阀芯8也向上移动,关小进气阀口10,节流作用加大,使输出压力下降,直至达到新的平衡为止,输出压力基本又回到原来值。若输入压力瞬时下降,输出压力也下降、膜片5下移,阀芯8随之下移,进气阀口10开大,节流作用减小,使输出压力也基本回到原来值。 逆时针旋转旋钮1。使调节弹簧2、3放松,气体作用在膜片5上的推力大于调压弹簧的作用力,膜片向上曲,靠复位弹簧的作用关闭进气阀口10。再旋转旋钮1,进气阀芯8的顶端与溢流阀座4将脱开,膜片气室6中的压缩空气便经溢流孔12、排气孔11排出,使阀处于无输出状态。
总之,溢流减压阀是靠进气口的节流作用减压,靠膜片上力的平衡作用和溢流孔的溢流作用稳压;调节弹簧即可使输出压力在一定范围内改变。为防止以上溢流式减压阀徘出少量气体对周围环境的污染,可采用不带溢流阀的减压阀(即普通减压阀),其符号如图14—1c所示。
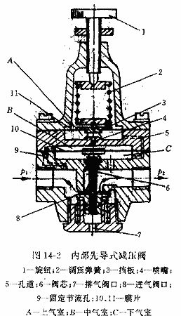
先导式减压阀

当减压阀的输出压力较高或通径较大时,用调压弹簧直接调压,则弹簧刚度必然过大,流量变化时,输出压力波动较大,阀的结构尺寸也将增大。为了克服这些缺点,可采用先导式减压阀。先导式减压阀的工作原理与直动式的基本相同。先导式减压阀所用的调压气体,是由小型的直动式减压阀供给的。若把小型直动式减压阀装在阀体内部,则称为内部先导式减压阀;若将小型直动式减压阀装在主阀体外部,则称为外部先导式减压阀。 图14—2所示为内部先导式减压阀的结构图,与直动式减压阀相比,该阀增加了由喷嘴4、挡板3、固定节流孔9及气室B所组成的喷嘴挡板放大环节。当喷嘴与挡板之间的距离发生微小变化时,就会使B室中的压力发生根明显的变化,从而引起膜片10有较大的位移,去控制阀芯6的上下移动,使进气阀口8开大或关小、提高了对阀芯控制的灵敏度,即提高了稳压精 度 。
图14—3所示为外部先导式减压阀的主阀,其工作原理与直动式相同。在主阀体外部还有一个小型直动式减压阀(图中末示出),由它来控制主阀。此类阀适于通径在20mm以上,远距离(30m以内)、高处、危险处、调压困难的场合。
定值器
定值器是一种高精度的减压阀,主要用于压力定值。目前有两种压力规格的定值器:其气源压力分别为0.14MPa和0.35MPa,输出压力范围分别为0—0.1MPa和0一0.25MPa。其输出压力波动不大于最大输出压力的1%,常用于需要供给精确气源压力和信号压力的场合,如气动实验设备、气动自动装置等。

图14—4所示为定值器的工作原理图。它由三部分组成:1是直动式减压阀的主闭部分;2是恒压降装置,相当于一定差减压阀。主要作用是使喷嘴得到稳定气源流量;3是喷嘴挡板装置和调压部分,起调压和压力放大作用,利用被它放大了的气压去控制主阀部分。
由于定值器具有调定、比较和放大的功能,因而稳压精度高。
定值器处于非工作状态时,由气源输入的压缩空气经过滤器滤后进入A室和正室。主阀芯19在弹簧20和气源压力作用下压在阀座上,使A室与B室断开。进入A室的气流经由阀口(又称为活门)12至F室,再通过恒节流孔13降压后,分别进入G室和D室。由于这时尚未对膜片8加力,挡板5与喷嘴4之间的间距较大,气体从喷嘴4流出时的气流阻力较小,G室及D室的气压较低,膜片3及15保持原始位置。进入只室的微量气体主要经B室通过阀口2从排气口排出;另有一部分从输出口排空。此时输出口无气流输出,由喷嘴流出而排空微量气体是维持喷嘴挡板装置工作所必须的,因其为无功耗气量,所以希望其耗量越小越好。
定值器处于工作状态时,转动手柄7,压下弹簧6并推动膜片8连同挡板5一同下移、挡板5与喷嘴4的间距缩小,气流阻力增加,使G室和D室的气压升高。膜片16在D室气压的作用下下移,将阀口2关闭,并向下推动主阀芯19,打开阀口,压缩空气经B室和H室由输出口输出。与此同时,H室压力上升并反馈到膜片8上,当膜片8所受反馈作用力与弹簧力平衡时,定值器便输出一定压力的气体。 当输入压力波动时,如压力上升,B室和H室气压瞬时增高、使膜片8上移,导致挡板5与喷嘴4之间的间距加大,G室和D室的气压下降。由于B室压力增高,D室压力下降,膜片15在压差的作用下向上移动,使主阀口减小,输出压力下降,直到稳定到调定压力上。此外,在输入压力上升时,E室压力和F室瞬时压力也上升,膜片3在上下差压的作用下上移,关小稳压阀口12。由于节流作用加强,F室气压下降,始终保持节流孔13的前后压差恒定,故通过节流孔13的气体流量不变,使喷嘴挡板的灵敏度得到提高。当输入压力降低时,B室和H室的压力瞬时下降,膜片8连同挡板5由于受力平衡破坏而下移,喷嘴4与挡板5间间距减小,G室和D室压力上升,膜片3和15下移。膜片15下移使主阀口开度加大,使B室及H室气压回升,直到与调定压力平衡为止。而膜片3下移,使稳压口12开大,F室气压上升,始终保持恒节流孔13前后压差恒定。同理,当输出压力波动时,将与输入压力波动时得到同样的调节。
由于定值器利用输出压力的反馈作用和喷嘴挡板的放大作用控制主阀,使其能对较小的压力变化作出反应,从而使输出压力得到及时调节,保持出口压力基本稳定,即定值稳压精度较高。
二、减压阀的基本性能
(1) 调压范围:它是指减压阀输出压力P2的可调范围,在此范围内要求达到规定的精度。调压范围主要与调压弹簧的刚度有关。
(2) 压力特性:它是指流量g为定值时,因输入压力波动而引起输出压力波动的特性。输出压力波动越小,减压阀的特性越好。输出压力必须低于输入压力—定值才基本上不随输入压力变化而变化。
(3) 流量特性:它是指输入压力—定时,输出压力随输出流量g的变化而变化的持性。当流量g发生变化时,输出压力的变化越小越好。一般输出压力越低,它随输出流量的变化波动就越小。
三、减压阀的选用
根据使用要求选定减压阀的类型和调压精度,再根据所需最大输出流量选择其通径。决定阀的气源压力时,应使其大于最高输出压力0.1MPa。减压阀一般安装在分水滤气器之后,油雾器或定值器之前,并注意不要将其进、出口接反;阀不用时应把旋钮放松,以免膜片经常受压变形而影响其性能。


邮箱:duohvalve@163.com
地址:山东省菏泽市巨野县万丰镇龙陈路
多合阀门客服