1 概述
高压差给水调节阀是广泛用于电力、冶金、石化、轻纺、供热、制冷、造纸和煤化工等工业领域中减温减压装置的核心部件之一,直接影响减温减压装置的使用性能。传统的给水调节阀易汽蚀,阀门密封填料易破损泄漏的几率比较大,出现喷水孔堵塞的现象。同时,对于大变工况条件的增加和复杂工艺参数的使用要求,减温减压装置在调节性能和安全性能方面常会出现一些问题。高压差单座密封给水调节阀在结构、加工工艺、可靠性和降低成本等方面都有很大的改进和完善,满足了大变工况和复杂工艺参数的要求。
2 结构特点
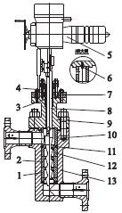
高压差单座密封给水调节阀(图1)由阀体、阀盖、阀座、阀杆、压套、填料、隔环和电液执行机构等组成。阀门的开启、调节或关闭是通过压力变送器和调节器,再由执行机构操纵,带动阀杆,使阀杆在阀座内上下运动,改变介质的流通面积来改变流量。给水由进水管进入阀门上腔。当阀杆上下移动时,使给水经过流线型锥体通道,向下运行,进入上、中、下阀座腔内。通过阀杆调节其在阀座内的相对位置,控制锥体流通面积,以改变介质流通面积达到调节流量的目的。

1.下阀座2.中阀座3.填料隔环4.填料压套
5.电液执行机构6.防转螺钉7.填料8.阀杆
9.阀盖10.压套11.密封填料12.上阀座13.阀体
图1 高压差单座密封给水调节阀
高压差单座密封给水调节阀的阀体为锻件,单座密封结构如图2所示。阀杆与阀座间锥面密封,阀杆在结构尺寸设计上采用流线型,使给水在流动过程中走圆滑路线。该阀密封面堆焊CoCr硬质合金,耐冲刷、耐腐蚀,阀杆通过不同方式可方便的实现等百分比和线性等调节特性。为避免填料受力不均匀,发生泄漏现象,填料中间设置填料隔环。为防止压套旋转、影响给水流量,阀盖上设置防转螺钉。为防止密封填料破碎、流入给水管道内造成减温减压装置的喷嘴堵塞,压套和上阀座、下阀座与阀体采用嵌入式(图3)。在高压差情况下,由于容易产生气蚀现象,采用多级调节结构,以消除因汽蚀而破坏阀门的隐患。
阀体、阀杆和阀座是此阀门的关键部件,其密封面的质量将直接影响阀门的整体性能。传统的阀门结构为单座单导向,加工方法不甚合理。其工艺方法为阀体中阀本体与阀座组焊,至使阀杆与变形的阀座配合时,间隙比较大,密封填料变形后一部分易冲刷进入阀内腔中。现把工艺方法改为阀门为单座双导向结构,压套与下阀座采用嵌入式,阀杆与阀座直接配合密封,以达到零泄漏的效果。

1.阀瓣2.压套3.上阀座4.密封填料5.阀体
图2 阀杆、阀座与阀体、压套、上阀座密封结构

1.中阀座2.阀体3.下阀座4.密封填料
图3 阀体、下阀座密封结构
高压液体流经节流孔时,阀座相当于节流孔板(图4),静压能与动压能相互转换,流速的增加导致压力降低。当压力降低至等于或低于该液体在入口温度下的汽化压力PV时,液体中的气核即膨胀而形成汽泡。流过节流面后,在宽敞的下游流道中流速下降,压力回升。当压力回升至P2时,并≥PV时,汽泡溃裂,这即是汽化过程。汽泡溃裂时,释放出巨大的能量,对阀座、阀瓣等节流元件产生破坏即汽蚀。汽蚀的破坏力很大,一般的阀门在汽化条件下,运行一定时间后即遭受严重汽蚀,致使阀座泄漏量高达额定流量的30%以上,调节阀完全丧失调节控制功能。

图4 阀内流体速度-压力变化及汽蚀形成原理
汽蚀与压差有关,当阀的实际压差△P大于产生汽化的临界压差△PC时,并在出口压力P2≥PV时,产生汽化。由此,将阀的总压差用分级降压的方法,使每一级压差△Pi<△PC,即可防止汽化产生。多级压降是以改变流体在阀内的流动状态,从阀的结构上保证了高压液体在节流降压过程中不产生汽化,是目前对高压差产生汽化的有效方法。防汽蚀高压差调节阀的关键技术是节流组件。根据多级降压防汽化原理,采用了多级分流多级阀座式节流的组件。
高压差调节阀是将阀的全开度分成若干组相互独立的空间(图5),每个独立空间都设有径向流道、节流孔和缓冲室,按一定规律分布于若干阀座上,阀座经加工成型组装,采用上阀座密封结构,单座密封,实现零泄漏。

图5 高压差多级降压原理
由于锅炉给水调节阀为变压差运行,因此,该高压差给水调节阀具有在小流量(小开度)时能承受很高的压差而不产生汽化。在大流量下则要求阀的阻力尽量小,以减少给水泵的能源损耗,亦即要求阀具有变流阻特性。通常,阀的固有流量特性是在恒压差下测得,当用于变压差工况,其实际工作流量特性会产生畸变。直线特性变为快开特性,致使调节阀通常在40%开度达到饱和,不能进行全程控制。鉴于此,将25%以下开度采用多级降压,25%~100%开度范围为一般套筒结构,固有流量特性为修正等百分比,这样能有效防止汽化与汽蚀,流体阻力小,节省电力,并能补偿变压差的影响,满足实际工作流量特性的要求。
表1 高压差单座密封给水调节阀与传统的给水调节阀性能比较

3 设计计算
根据工艺参数要求,计算流量系数Cv,为避免汽蚀现象,应根据压差判定或选用多级高压差调节阀,推荐采用IEC标准计算。按△P<FL2(P1-FfPV)判断是否为阻塞流。
若△P<FL2(P1-FfPV)成立,则为非阻塞流,其流通能力Cv为

若△P<FL2(P1-FfPV)不成立,则为阻塞流,其流通能力Cv为

式中 Cv———流量系数
FL———压力恢复系数
Q———流量
r———密度(阀前条件下)
△P———压降
△P=P1-P2
P1———阀进口压力
P2———阀出口压力
Ff———临界压力比系数

PV———流动温度下的饱和蒸汽压力
PC———热力学临界压力
选择调节阀按计算Cv值的1.2~1.4倍作为其额定流量系数,开度大致范围为70%~90%(最大开度),常用开度为40%~70%,最小开度为10%。
4 试验及使用
4.1 型式试验
通过型式试验确认阀门的设计加工质量,承压能力,启动装置的动作性能。①按公称压力的1.5倍进行水压壳体试验,观察填料部位、中法兰垫片各处及壳体全表面应无渗漏。②试验介质为5~40℃的水或煤油,试验介质压力为0.35MPa,,泄漏等级不低于Ⅲ级。③阀门动作试验。将阀门关闭后,加压至设计压力,开启驱动装置,确认阀门开启状态,验证设计行程。
4.2 使用结果
在某工况系统中,其工艺参数为给水流量Q=20t/h,给水调节阀进口压力P1=8.0~8.3MPa,出口压力P2=2.0MPa,给水温度tb=90~130℃,选用高压差给水调节阀的规格为DN50,PN110。采用传统结构的给水调节阀与高压差给水调节阀,其运行结果见表2。高压差给水调节阀投产运行良好,阀门操作轻便,密封可靠,完全满足工艺参数的需要。
表2 运行结果

在某专用减温减压装置装备配套中,采用高压差给水调节阀,进口压力P1=8.6MPa,出口压力P2=1.5MPa,减温水温度tb=104℃,减温水流量Q=2.5t/h,选用高压差调节阀的规格为DN20、PN100。样机试验时,取工况点共11个,对各个工况点进行性能试验及整体破坏性试验(表3),均达到技术要求。
表3 性能试验及整体破坏性试验结果

5 结语
高压差给水调节阀与传统的给水调节阀相比,密封结构更加合理。单座密封给水调节阀在工况系统中的可靠性和调节性能等方面都有很大的改进和完善,维修更加方便,满足了大变工况和复杂工艺参数的要求。
邮箱:duohvalve@163.com
地址:山东省菏泽市巨野县万丰镇龙陈路
多合阀门客服