球阀是由旋塞阀演变而来。它具有相同的旋转90度的动作,不同的是旋塞体是球体,有圆形通孔或通道通过其轴线。当球旋转90度时,在进、出口处应全部呈现球面,从而截断流动。 球阀只需要用旋转90度的操作和很小的转动力矩就能关闭严密。完全平等的阀体内腔为介质提供了阻力很小、直通的流道。球阀最适宜直接做开闭使用,但也能作节流和控制流量之用。
典型阀门
1 闸阀
闸阀是作为截止介质使用,在全开时整个流通直通,此时介质运行的压力损失最小。闸阀通常适用于不需要经常启闭,而且保持闸板全开或全闭的工况。不适用于作为调节或节流使用。对于高速流动的介质,闸板在局部开启状况下可以引起闸门的振动,而振动又可能损伤闸板和阀座的密封面,而节流会使闸板遭受介质的冲蚀。
从结构形式上,主要的区别是所采用的密封元件的形式。根据密封元件的形式,常常把闸阀分成几种不同的类型,如:楔式闸阀、平行式闸阀、平行双闸板闸阀、楔式双闸板闸等。最常用的形式是楔式闸阀和平行式闸阀。

明杆楔式单闸板闸阀
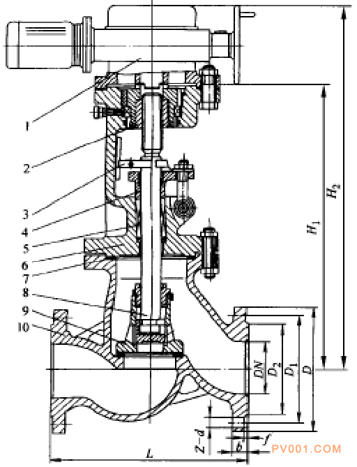
2 截止阀
截止阀是用于截断介质流动的,截止阀的阀杆轴线与阀座密封面垂直,通过带动阀芯的上下升降进行开断。截止阀一旦处于开启状态,它的阀座和阀瓣密封面之间就不再有接触,并具有非常可靠的切断动作,因而它的密封面机械磨损较小,由于大部分截止阀的阀座和阀瓣比较容易修理或更换密封元件时无需把整个阀门从管线上拆下来,这对于阀门和管线焊接成一体的场合是很适用的。
介质通过此类阀门时的流动方向发生了变化,因此截止阀的流动阻力较高。引入截止阀的流体从阀芯下部引入称为正装,从阀芯上部引入称为反装,正装时阀门开启省力,关闭费力,反装时,阀门关闭严密,开启费力,截止阀一般正装。

电动平面密封截止阀
3 止回阀
止回阀的作用是只允许介质向一个方向流动,而且阻止方向流动。通常这种阀门是自动工作的,在一个方向流动的流体压力作用下,阀瓣打开;流体反方向流动时,由流体压力和阀瓣的自重合阀瓣作用于阀座,从而切断流动。包括旋启式止回阀和升降式止回阀。

旋启式止回阀
4 蝶阀
蝶阀的蝶板安装于管道的直径方向。在蝶阀阀体圆柱形通道内,圆盘形蝶板绕着轴线旋转,旋转角度为0°~90°之间,旋转到90°时,阀门则是全开状态。蝶阀结构简单、体积小、重量轻,只由少数几个零件组成。而且只需旋转90°即可快速启闭,操作简单。蝶阀处于完全开启位置时,蝶板厚度是介质流经阀体时唯一的阻力,因此通过该阀门所产生的阻力很小,故具有较好的流量控制特性,可以作调节用。
蝶阀有弹性密封和金属的密封两种密封型式。弹性密封阀门,密封圈可以镶嵌在阀体上或附在蝶板周边。采用金属密封的阀门一般比弹性密封的阀门寿命长,但很难做到完全密封,金属密封能适应较高的工作温度,弹性密封则具有受温度限制的缺点。

5 球阀
球阀是由旋塞阀演变而来。它具有相同的旋转90度的动作,不同的是旋塞体是球体,有圆形通孔或通道通过其轴线。当球旋转90度时,在进、出口处应全部呈现球面,从而截断流动。
球阀只需要用旋转90度的操作和很小的转动力矩就能关闭严密。完全平等的阀体内腔为介质提供了阻力很小、直通的流道。球阀最适宜直接做开闭使用,但也能作节流和控制流量之用。球阀的主要特点是本身结构紧凑,易于操作和维修,适用于水、溶剂、酸和天然气等一般工作介质,而且还适用于工作条件恶劣的介质,如氧气、过氧化氢、甲烷、乙烯、树脂等。球阀阀体可以是整体的,也可以是组合式的。
6 隔膜阀
隔膜阀是用一个弹性的膜片连接在压缩件上,压缩件由阀杆操作上下移动,当压缩件上升,膜片就高举,形成通路,当压缩件下降,膜片就压在阀体上,阀门关闭。此阀适用于开断、节流。 隔膜阀特别适用于运送有腐蚀性、有粘性的流体,而且此阀的操作机构不暴露在运送流体中,故不会被污染,也不需要填料,阀杆填料部分也不会泄漏。
7 安全阀
安全阀的作用原理是基于力平衡,一旦阀瓣所受压力大于弹簧设定压力时,阀瓣就会被此压力推开,其压力容器内的气(液)体会被排出,以降低该压力容器内的压力。
8 调节阀
调节阀主要工作原理,是靠改变阀门阀瓣与阀座间的流通面积,达到调节压力、流量等参数的目的。
本节主要介绍调节阀的阀体和阀芯的主要结构,调节阀的流量特性以及有关阀芯气蚀噪音问题的解决方法。